First Coin-Operated Phonograph

Discussions on Talking Machines & Accessories
Post Reply
User avatar
phonogfp
Victor Monarch Special
Posts: 8283
Joined: Wed Jan 07, 2009 5:08 pm
Personal Text: "If you look for the bad in people expecting to find it, you surely will." - A. Lincoln
Location: New York's Finger Lakes

First Coin-Operated Phonograph

Post by phonogfp »

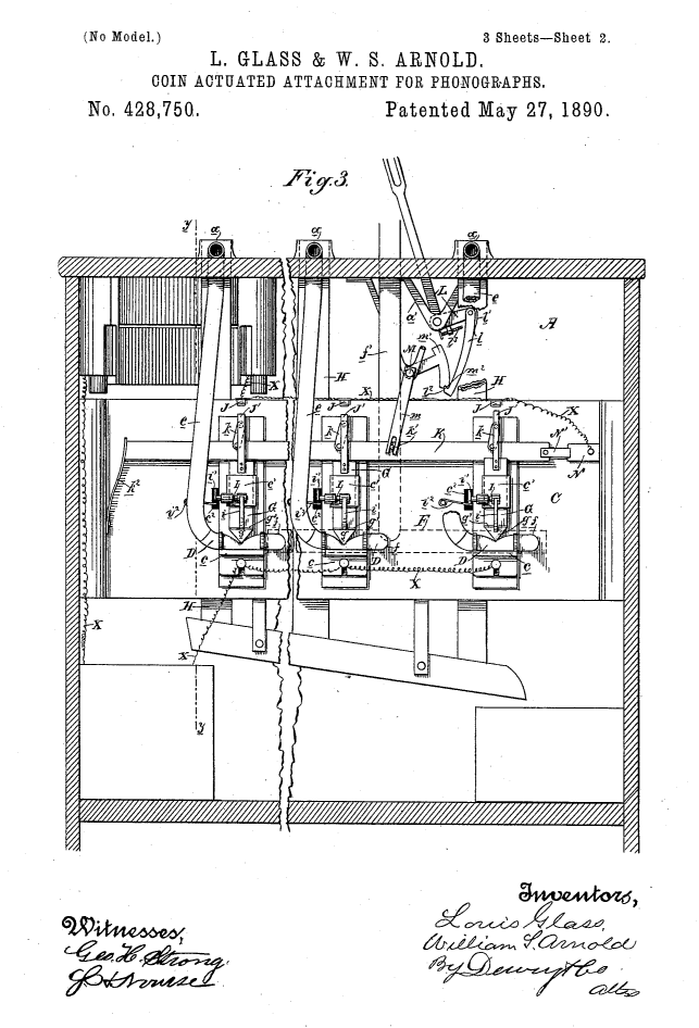
“On This Day in the History of Recorded Sound…”

December 18, 1889: Louis Glass and William Arnold filed for a U.S. patent for “Coin Actuated Attachment for Phonographs.” This would become the first coin-operated talking machine introduced to the public.

#antiquephonographsociety #phonograph #gramophone #antique
Glass, Louis patent1.png
Glass Louis patent2.png

Post Reply