Greetings all,
I just wonder if any Australian collectors have ever cast their eyes on one of these?
The company evidently ran for a few years in the 20s and explored a dual tonearm ‘ soundbox array. Recently, I picked up a superb cabinet (sadly without the workings) with the ‘Invictus Duplex’ decal, but would be fascinated to know if any such machines exist and if so what they sound and look like?? I can only imagine that the wear to records must have been significant…
It would seem that the design is different to the Kalamazoo Duplex with the two horns and a double sided reproducer. There were also Duophone machines I gather, but as I understand things, the soundboxes were mounted on the same tonearm and mechanically linked. I found no evidence of a patent from Lieut HB Miles who designed the thing. Here is an article from Trove..
Cheers,
Stephen
Invictus Duplex - Melbourne
-
langleycello
- Victor Jr
- Posts: 39
- Joined: Thu May 06, 2021 7:42 am
- chunnybh
- Victor III
- Posts: 743
- Joined: Tue Jun 30, 2009 8:17 am
- Personal Text: "If I had all the money I'd spent on drink, I'd spend it on drink." Vivian Stanshall
- Location: Victoria. Australia
- Contact:
Re: Invictus Duplex - Melbourne
I'm in Melbourne and have been on the hunt for one of these but no luck yet. I've never seen one or a pic of one before.
Any more pics?
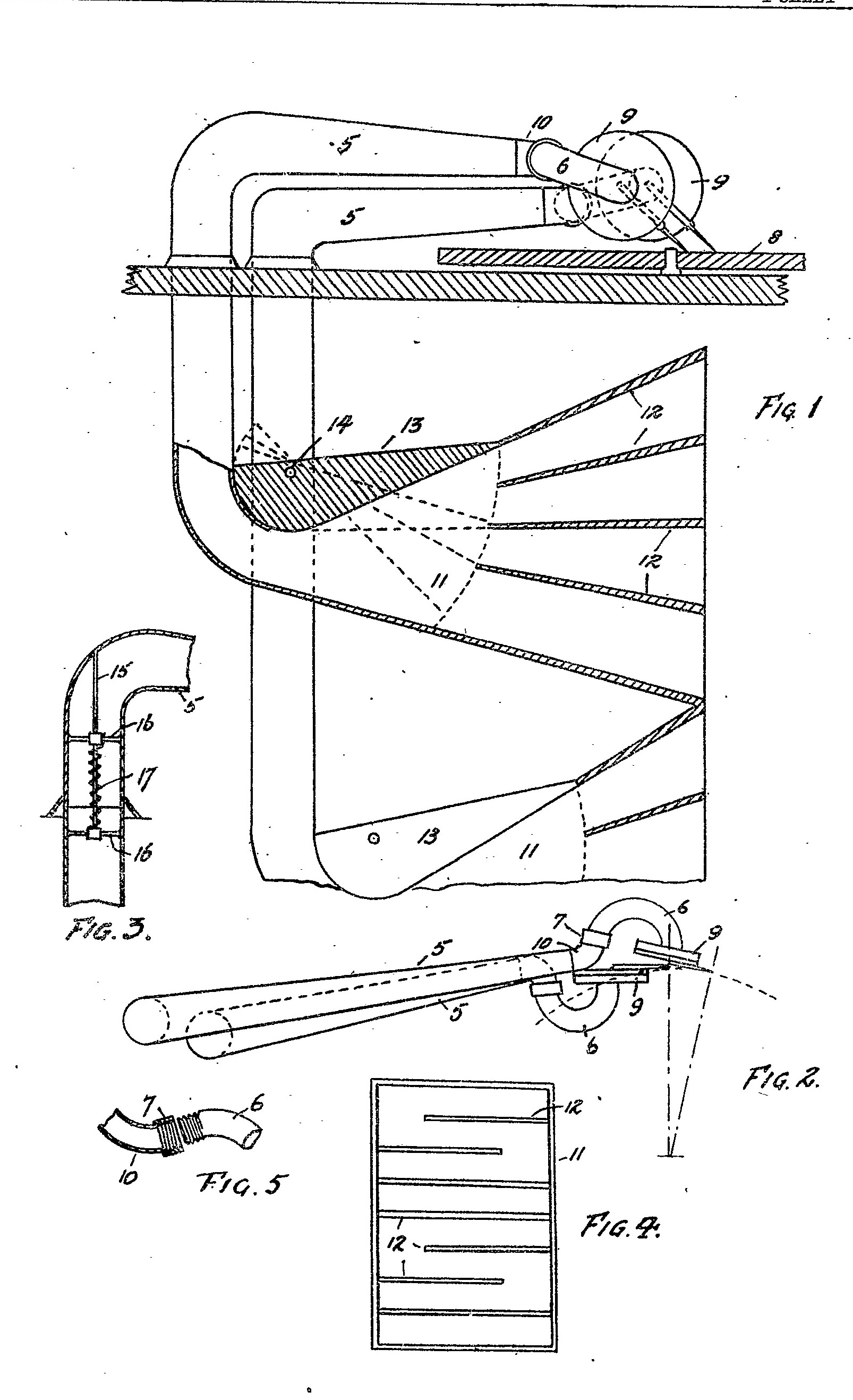
I have found 3 HARRY BENDA MILES patents. Oddly they were also patented in Australia, UK, France and Denmark
You can search for them here:
https://www.epo.org
I'd love to hear one of these. The earlier single soundbox (middle pic) was designed to bend to deal with tracking error; wonder how that worked? The horns also looks very interesting.
Any more pics?
I have found 3 HARRY BENDA MILES patents. Oddly they were also patented in Australia, UK, France and Denmark
You can search for them here:
https://www.epo.org
I'd love to hear one of these. The earlier single soundbox (middle pic) was designed to bend to deal with tracking error; wonder how that worked? The horns also looks very interesting.