An interesting article in the April 1924 issue of Voice of the Victor.
I copied this from the Jim Walsh (Hobbies) collection at the Library or Congress 30 years ago.
Victor could make Tungstone needles 99 years ago, maybe this article will inspire one of us to take up mantle now?
Mark
VoV: Why Victrola Tungstone Needles are Best
-
- Victor III
- Posts: 522
- Joined: Tue Jun 02, 2009 10:19 pm
- Location: Silver Spring, MD
- poodling around
- Victor V
- Posts: 2313
- Joined: Tue Feb 20, 2018 11:52 am
Re: VoV: Why Victrola Tungstone Needles are Best
I haven't seen any-thing like this before and am really pleased that you have created this thread. Absolutely fascinating !MarkELynch wrote: Wed Nov 08, 2023 1:30 pm An interesting article in the April 1924 issue of Voice of the Victor.
I copied this from the Jim Walsh (Hobbies) collection at the Library or Congress 30 years ago.
Victor could make Tungstone needles 99 years ago, maybe this article will inspire one of us to take up mantle now?
Mark
AC3DC7A6-25E0-4467-8864-CF7EE1F09421.jpeg
25127B44-C8F2-4527-ACAD-FFDB325A9694.jpeg
I guess that none of these machines exist any-more which is sad because I would love to have one !
A lot of people are not very keen on Tungstone needles as they are considered to be too hard for records. I like them though but don't have enough to use them very often. I do have a few tins of HMV Tungstone needles - which I assume were similar to the Victor one's. Do they say each one can be used 100 times ? I can't remember but it may have been something like that.
One thing about the article puzzles me though.
'On the one hand' they say:
'If we had been allowed to choose a name for the new testing instrument ...'
and yet on the other they say:
'New testing machines invented and perfected in the Victrola plant and protected by patents'
So if Victor invented the machine why couldn't they have called it what they wanted to ?
Anyway: Great stuff indeed !!!
-
- Victor I
- Posts: 185
- Joined: Fri Jul 02, 2021 4:35 pm
Re: VoV: Why Victrola Tungstone Needles are Best
I tried making tungstone needles a few years ago, but my results were not good.
I bought some tungsten wire of appropriate diameter and used epoxy to fix a short piece in a fine metal tube, a 27ga iv needle, but it ended up being quite messy and the 27ga needle was so fine that I had to fit that into a larger needle, an 18ga or something like that.
I also found that when I cut the wire with snips it caused it to split lengthwise. A cutting disk would work better.
I may try again some day, but use a different method.
Any suggestions?
I bought some tungsten wire of appropriate diameter and used epoxy to fix a short piece in a fine metal tube, a 27ga iv needle, but it ended up being quite messy and the 27ga needle was so fine that I had to fit that into a larger needle, an 18ga or something like that.
I also found that when I cut the wire with snips it caused it to split lengthwise. A cutting disk would work better.
I may try again some day, but use a different method.
Any suggestions?
-
- Victor I
- Posts: 115
- Joined: Fri Feb 04, 2011 1:59 pm
- Location: Tacoma, WA
Re: VoV: Why Victrola Tungstone Needles are Best
Several years ago I bought some that a gent in England was making. They seemed to work fine. I no longer remember who was offering those.
- drh
- Victor IV
- Posts: 1430
- Joined: Tue May 27, 2014 12:24 pm
- Personal Text: A Pathé record...with care will live to speak to your grandchildren when they are as old as you are
- Location: Silver Spring, MD
Re: VoV: Why Victrola Tungstone Needles are Best
Oh, I think that was just a little copywriter hyperbole--like a car company ad saying something along the lines of "If we could have named our new XL247e model sport sedan anything we liked, it would have been 'Super Rocket To The Green Cheese Moon,' because that's where it feels like it's taking you every time you get behind the wheel."poodling around wrote: Thu Nov 09, 2023 4:29 am ...One thing about the article puzzles me though.
'On the one hand' they say:
'If we had been allowed to choose a name for the new testing instrument ...'
and yet on the other they say:
'New testing machines invented and perfected in the Victrola plant and protected by patents'
So if Victor invented the machine why couldn't they have called it what they wanted to ?...
-
- Victor I
- Posts: 141
- Joined: Mon Jan 14, 2019 7:13 pm
- Personal Text: I know nothing (yet) help!
Re: VoV: Why Victrola Tungstone Needles are Best
Wish this were in English but subtitles enlightening
at any rate. https://youtu.be/YVjxeWLhd6w?si=iabhdm4nCJfjsyKg
at any rate. https://youtu.be/YVjxeWLhd6w?si=iabhdm4nCJfjsyKg
-
- Victor III
- Posts: 522
- Joined: Tue Jun 02, 2009 10:19 pm
- Location: Silver Spring, MD
Re: VoV: Why Victrola Tungstone Needles are Best
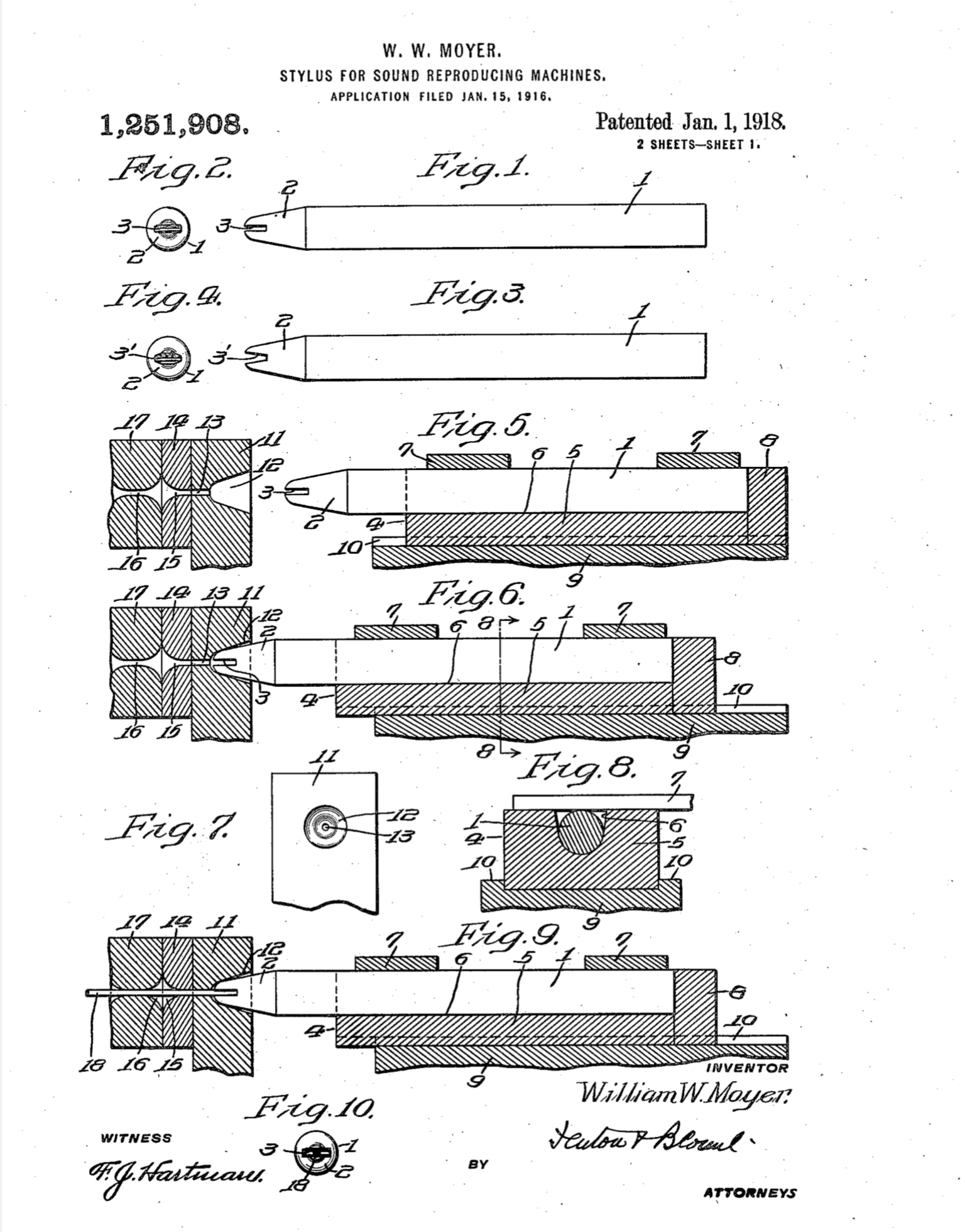
The Moyer patent for the tungsten stylus describes exactly how they were manufactured. The tungsten wire was swaged in place. It also mentions the difficulty in cutting the tungsten wire. The tip was rounded by grinding after cutting to remove burrs, The patent was assigned to the VTMCo. in 1918.
https://patentimages.storage.googleapis ... 251908.pdf
The metal case many of us are familiar with for holding a set of Tungstones is covered in this patent.
https://patentimages.storage.googleapis ... 622818.pdf
Mark
https://patentimages.storage.googleapis ... 251908.pdf
The metal case many of us are familiar with for holding a set of Tungstones is covered in this patent.
https://patentimages.storage.googleapis ... 622818.pdf
Mark
- Curt A
- Victor Monarch Special
- Posts: 6845
- Joined: Fri Jul 09, 2010 8:32 pm
- Personal Text: Needle Tins are Addictive
- Location: Belmont, North Carolina
Re: VoV: Why Victrola Tungstone Needles are Best
Mark,
Since this interests you, I think you should be the guy to make them/take up the mantle.
The rest of us don't have a manufacturing plant to produce them and making them by hand, individually, seems like a daunting task. I doubt that there would be any market for them because of the labor costs. If you could make one or two per hour at minimum wage they would cost $15 or $20 each and no one would want to do that job for minimum wage, so maybe $30 or $40 each... or more, just guessing.
And then there is the cost of materials and equipment... Also, there is nothing spectacular about the sound, so what is the point (pun intended). Acoustic phonographs never had great sound and are not meant to produce audiophile sound.
Since this interests you, I think you should be the guy to make them/take up the mantle.
The rest of us don't have a manufacturing plant to produce them and making them by hand, individually, seems like a daunting task. I doubt that there would be any market for them because of the labor costs. If you could make one or two per hour at minimum wage they would cost $15 or $20 each and no one would want to do that job for minimum wage, so maybe $30 or $40 each... or more, just guessing.
And then there is the cost of materials and equipment... Also, there is nothing spectacular about the sound, so what is the point (pun intended). Acoustic phonographs never had great sound and are not meant to produce audiophile sound.
"The phonograph is not of any commercial value."
Thomas Alva Edison - Comment to his assistant, Samuel Insull.
"No one needs a Victrola XX, a Perfected Graphophone Type G, or whatever you call those noisy things."
My Wife
Thomas Alva Edison - Comment to his assistant, Samuel Insull.
"No one needs a Victrola XX, a Perfected Graphophone Type G, or whatever you call those noisy things."
My Wife