New Video - Edison Concert with a D (Iris) Repeater

Discussions on Talking Machines & Accessories
Post Reply
User avatar
Shawn
Victor IV
Posts: 1981
Joined: Tue Oct 19, 2010 4:07 pm
Personal Text: Its only Fun, when we're all having Fun!
Contact:

New Video - Edison Concert with a D (Iris) Repeater

Post by Shawn »

Folks,

Lets celebrate the season with a new video! Here is one on an Edison Concert with a "D" repeater. There have been very few of these found. Take a look, see it in action, learn about the song, and check out my other vidoes!!!

https://www.youtube.com/watch?v=ucWZyD7NvRo

Enjoy!!

Shawn
Subscribe to my music and phonograph videos at https://www.youtube.com/@Shawn_O_Phonograph

User avatar
Phono-Phan
Victor V
Posts: 2891
Joined: Fri Apr 06, 2012 9:38 pm
Location: Plover, WI

Re: New Video - Edison Concert with a D (Iris) Repeater

Post by Phono-Phan »

Great video. Thanks for sharing.

CarlosV
Victor V
Posts: 2184
Joined: Sun Mar 15, 2009 6:18 am
Location: Luxembourg

Re: New Video - Edison Concert with a D (Iris) Repeater

Post by CarlosV »

Very entertaining and instructive!

edisonclassm
Victor III
Posts: 544
Joined: Fri May 22, 2015 9:45 am

Re: New Video - Edison Concert with a D (Iris) Repeater

Post by edisonclassm »

This repeater works slick!

User avatar
Shawn
Victor IV
Posts: 1981
Joined: Tue Oct 19, 2010 4:07 pm
Personal Text: Its only Fun, when we're all having Fun!
Contact:

Re: New Video - Edison Concert with a D (Iris) Repeater

Post by Shawn »

I agree Paul!!

It is an amazing one to watch though it functions the same as the Home and Triumph, its so much more compelling on the Concert.

Shawn
Subscribe to my music and phonograph videos at https://www.youtube.com/@Shawn_O_Phonograph

KCW
Victor II
Posts: 466
Joined: Fri Mar 23, 2018 7:04 pm

Re: New Video - Edison Concert with a D (Iris) Repeater

Post by KCW »

I’ll never get tired of watching this repeater work. I installed one in a Home and whoever came up with this is a genius.

Online
JerryVan
Victor Monarch Special
Posts: 6825
Joined: Mon Aug 24, 2009 3:08 pm
Location: Southeast MI

Re: New Video - Edison Concert with a D (Iris) Repeater

Post by JerryVan »

Shawn wrote: Sun Dec 18, 2022 1:47 pm I agree Paul!!

It is an amazing one to watch though it functions the same as the Home and Triumph, its so much more compelling on the Concert.

Shawn
Getting mine to work properly on a Home is a real trial of adjustment. Having one that works so well lifting the heavy Concert carriage is a triumph, (pun intended)!

User avatar
phonogfp
Victor Monarch Special
Posts: 8279
Joined: Wed Jan 07, 2009 5:08 pm
Personal Text: "If you look for the bad in people expecting to find it, you surely will." - A. Lincoln
Location: New York's Finger Lakes

Re: New Video - Edison Concert with a D (Iris) Repeater

Post by phonogfp »

KCW wrote: Wed Dec 21, 2022 8:46 am I’ll never get tired of watching this repeater work. I installed one in a Home and whoever came up with this is a genius.
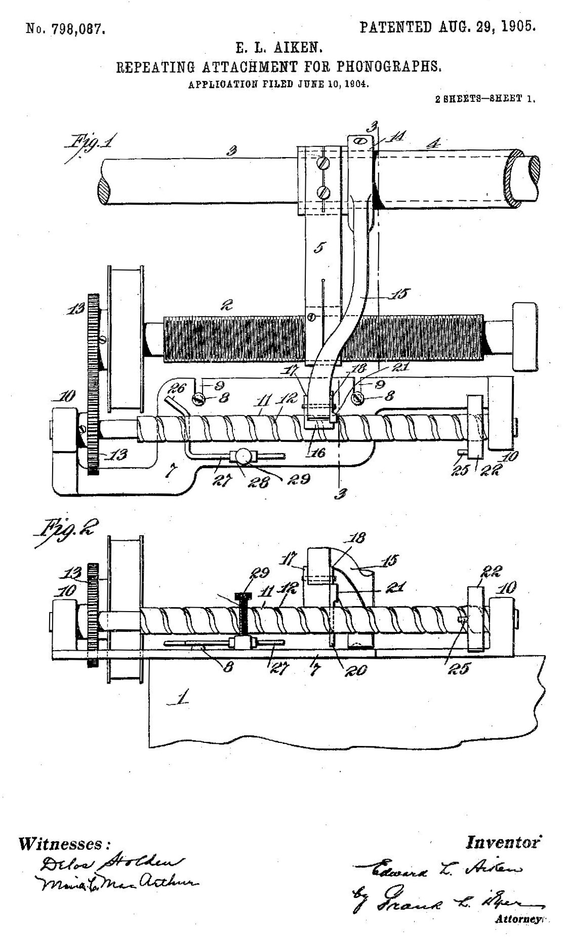
Edward Aiken gets the credit for this one...

George P.
Aiken_00001.jpg

Post Reply