"On This Day..."

Discussions on Talking Machines & Accessories
Post Reply
User avatar
phonogfp
Victor Monarch Special
Posts: 8084
Joined: Wed Jan 07, 2009 5:08 pm
Personal Text: "If you look for the bad in people expecting to find it, you surely will." - A. Lincoln
Location: New York's Finger Lakes

"On This Day..."

Post by phonogfp »

“On This Day in the History of Recorded Sound…”

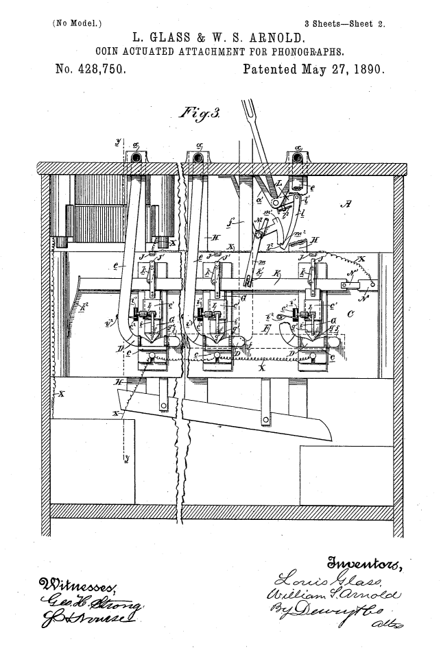
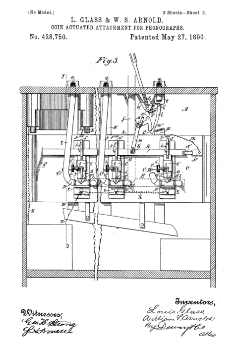
May 27, 1890: Louis Glass and William Arnold were granted a U.S. patent (428,750) for “Coin Actuated Attachment for Phonographs.” This was the first coin-operated talking machine introduced to the public.

#antiquephonographsociety #phonograph #gramophone #antique
Glass, Louis patent1.png
Glass Louis patent2.png

User avatar
Shawn
Victor IV
Posts: 1911
Joined: Tue Oct 19, 2010 4:07 pm
Personal Text: Its only Fun, when we're all having Fun!
Contact:

Re: "On This Day..."

Post by Shawn »

If only one still existed.......
Subscribe to my music and phonograph videos at https://www.youtube.com/@Shawn_O_Phonograph

Post Reply