"On This (Busy) Day..."

Discussions on Talking Machines & Accessories
Post Reply
User avatar
phonogfp
Victor Monarch Special
Posts: 8281
Joined: Wed Jan 07, 2009 5:08 pm
Personal Text: "If you look for the bad in people expecting to find it, you surely will." - A. Lincoln
Location: New York's Finger Lakes

"On This (Busy) Day..."

Post by phonogfp »

“On This Day in the History of Recorded Sound…”

August 29, 1861: Born: Byron G. Harlan, pioneer tenor recording artist.

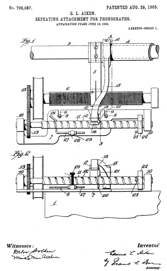
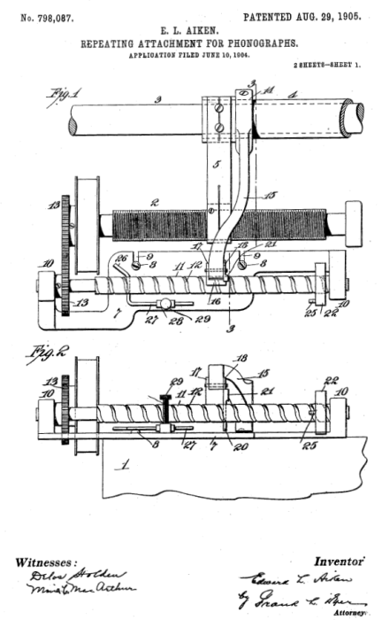
August 29, 1905: Edward Aiken was granted a U.S. patent (No.798,087) on a “Repeating Attachment for Phonographs.” This had appeared in October 1904 as the Edison Model D Repeater.

August 29, 1911: Edward F. Pooley was granted U.S. Design Patent No.41,732) for “Cabinet.” This cabinet was used with the Edison Amberola 1A and 1B, as well as the Edison Disc Phonograph A 250 and B 250.

August 29, 1943: Died: Harry Spencer: recording artist, known particularly for spoken word renditions of speeches by famous people.

#antiquephonographsociety #phonograph #gramophone #antique
Harlan, Byron G.jpg
Harlan, Byron G.jpg (42.79 KiB) Viewed 462 times
Aiken 798087 Repeater.png
pooleyEdison001.jpg
Spencer, Harry 2.JPG

Post Reply