Type N Graphophone

Discussions on Talking Machines & Accessories
Post Reply
User avatar
phonogfp
Victor Monarch Special
Posts: 8282
Joined: Wed Jan 07, 2009 5:08 pm
Personal Text: "If you look for the bad in people expecting to find it, you surely will." - A. Lincoln
Location: New York's Finger Lakes

Type N Graphophone

Post by phonogfp »

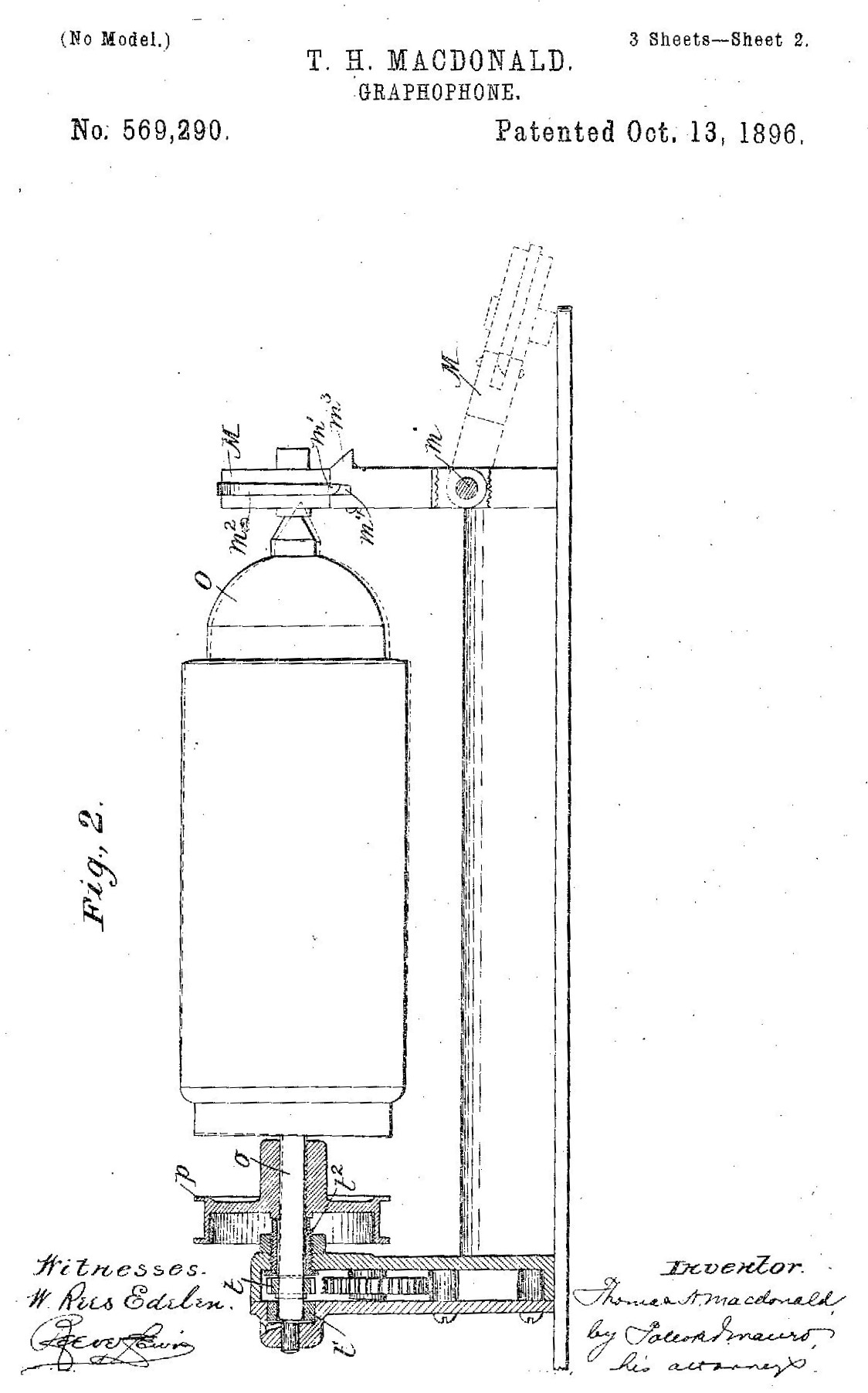
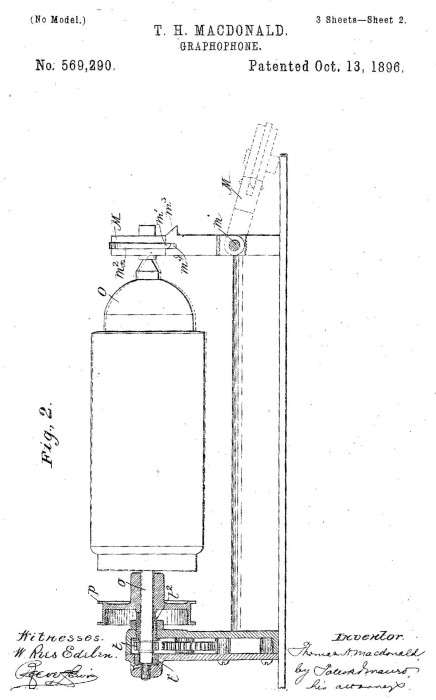
“On This Day in the History of Recorded Sound…”

October 13, 1896: Thomas H. Macdonald was granted a U.S. patent (No.569,290) for a “Graphophone.” This device had already become the Type N Graphophone, the first popularly-priced ($40.00) talking machine. Appearing in September 1895, the Type N was the first practical talking machine to successfully challenge Edison’s Class M Phonograph.

#antiquephonographsociety #phonograph #gramophone #antique
Macdonald 569290 N Grapho.jpg
Macdonald N 1.jpg
Macdonald N 2.jpg
Macdonald N 3.jpg

Post Reply