“On This Day in the History of Recorded Sound…”
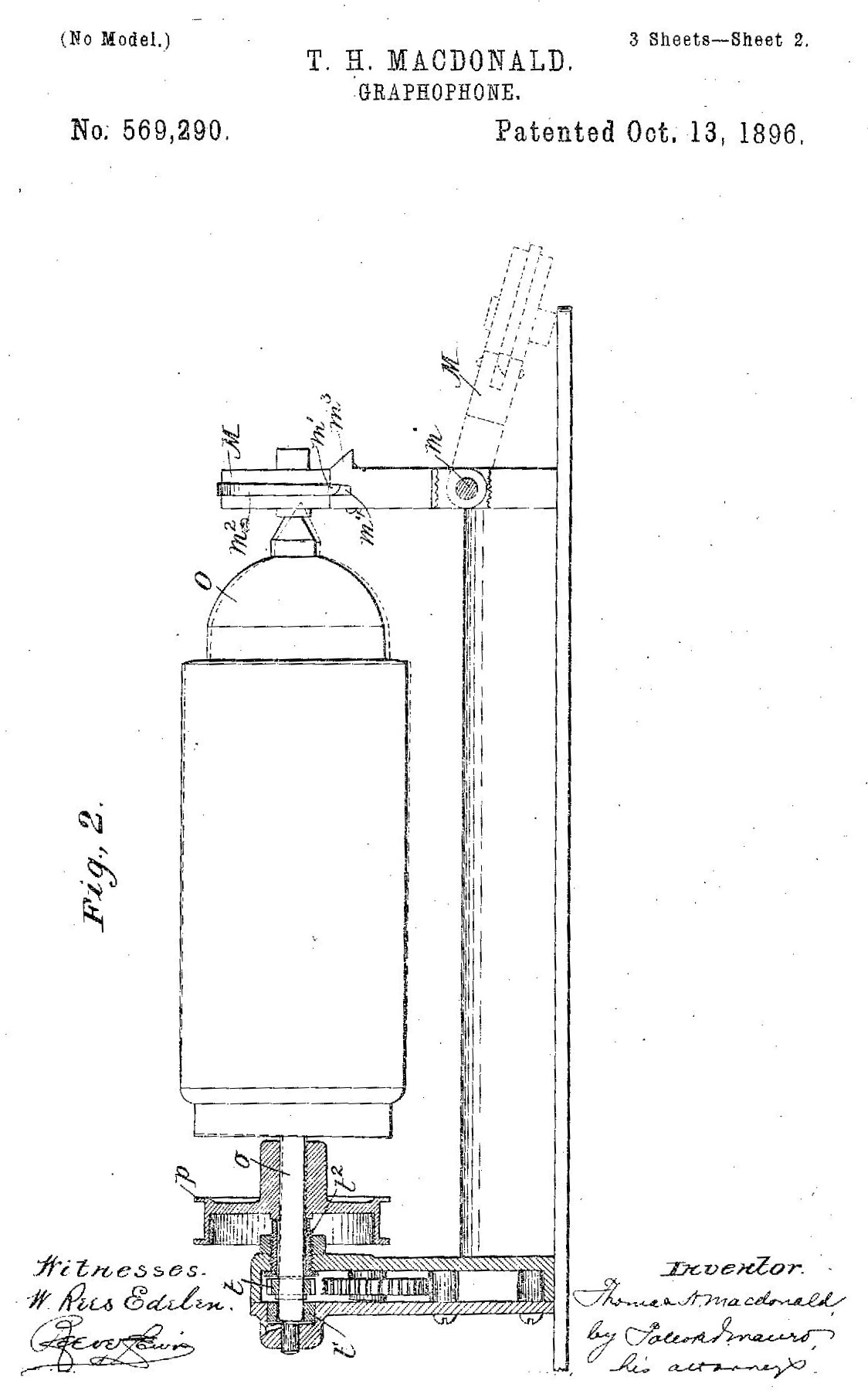
November 2, 1895: Thomas H. Macdonald filed for a U.S. patent for a “Graphophone.” This device was the Type N Graphophone, the first popularly-priced ($40.00) talking machine. Appearing in September 1895, the Type N was the first practical talking machine to successfully challenge Edison’s Class M Phonograph.
#antiquephonographsociety #phonograph #gramophone #antique
Type N Graphophone
- phonogfp
- Victor Monarch Special
- Posts: 8282
- Joined: Wed Jan 07, 2009 5:08 pm
- Personal Text: "If you look for the bad in people expecting to find it, you surely will." - A. Lincoln
- Location: New York's Finger Lakes