“On This Day in the History of Recorded Sound…”
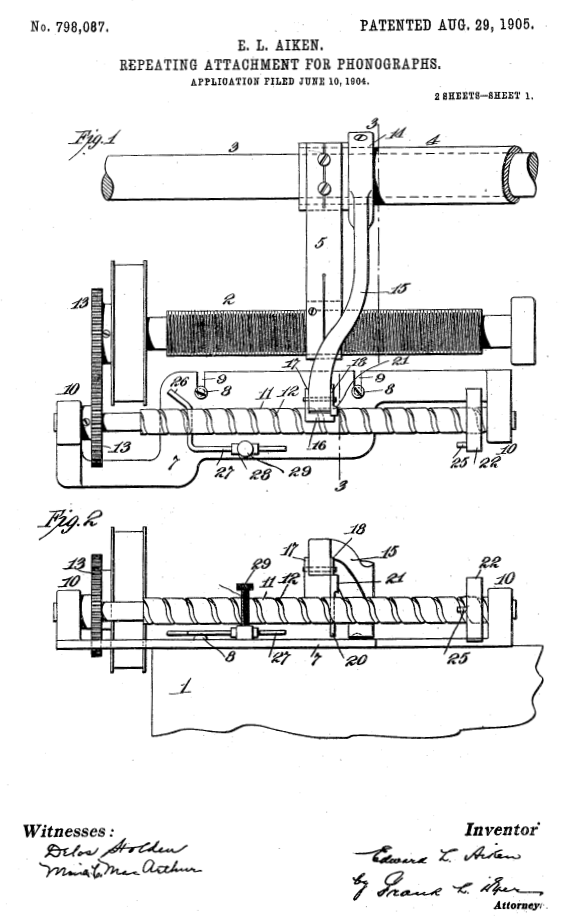
June 10, 1904:  Edward Aiken filed for U.S. patent for a “Repeating Attachment for Phonographs.”  This would appear in October 1904 as the Edison Model D Repeater.
June 10, 1916: Ralph Mayhew filed for U.S. Patent for a “Book,”  by which ”…the story or song which is printed and illustrated in the book may be heard at the time the text is read, and while the book is open at the cut illustrating the story or song.”  These would be widely sold as children’s “Bubble Books.”  
#antiquephonographsociety #phonograph #gramophone #antique
			
			
									
									
						"On This Day (June 10)..."
- phonogfp
 - Victor Monarch Special
 - Posts: 8114
 - Joined: Wed Jan 07, 2009 5:08 pm
 - Personal Text: "If you look for the bad in people expecting to find it, you surely will." - A. Lincoln
 - Location: New York's Finger Lakes
 
- Phono-Phan
 - Victor V
 - Posts: 2838
 - Joined: Fri Apr 06, 2012 9:38 pm
 - Location: Plover, WI
 
Re: "On This Day (June 10)..."
I love the repeating mechanisms.  That could be a whole thread.