"On This Eventful Day (August 29)..."

Discussions on Talking Machines & Accessories
Post Reply
User avatar
phonogfp
Victor Monarch Special
Posts: 8284
Joined: Wed Jan 07, 2009 5:08 pm
Personal Text: "If you look for the bad in people expecting to find it, you surely will." - A. Lincoln
Location: New York's Finger Lakes

"On This Eventful Day (August 29)..."

Post by phonogfp »

“On This Day in the History of Recorded Sound…”

August 29, 1861: Born: Byron G. Harlan, pioneer tenor recording artist.

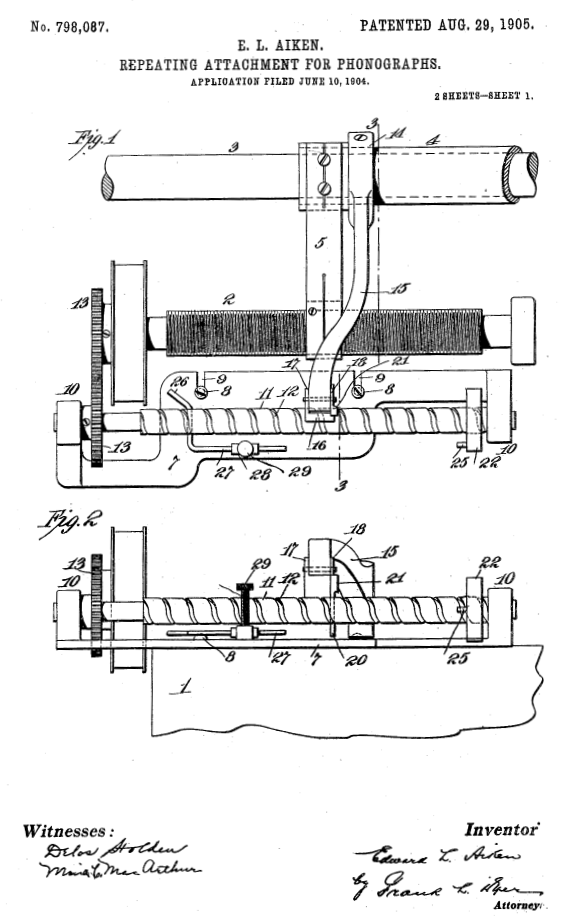
August 29, 1905: Edward Aiken was granted a U.S. patent (No.798,087) on a “Repeating Attachment for Phonographs.” This had appeared in October 1904 as the Edison Model D Repeater.

August 29, 1911: Edward F. Pooley was granted U.S. Design Patent No.41,732) for “Cabinet.” This cabinet was used with the Edison Amberola 1A and 1B, as well as the Edison Disc Phonograph A 250 and B 250.

August 29, 1943: Died: Harry Spencer: recording artist, known particularly for spoken word renditions of speeches by famous people.

https://www.antiquephono.org/#/
Harlan, Byron G.jpg
Harlan, Byron G.jpg (42.79 KiB) Viewed 445 times
Aiken 798087 Repeater.png
pooleyEdison001.jpg
Spencer, Harry 2.JPG

User avatar
epigramophone
Victor Monarch Special
Posts: 5785
Joined: Mon Oct 24, 2011 1:21 pm
Personal Text: An analogue relic trapped in a digital world.
Location: The Somerset Levels, UK.

Re: "On This Eventful Day (August 29)..."

Post by epigramophone »

An eventful date indeed.

August 29, 1972 : Died : Lale Andersen, singer and cabaret artiste best known for her recording of "Lili Marlen", which on both sides of the conflict became the biggest international hit song of World War 2, earning her a gold disc.
Attachments
lili marlen.jpg

Post Reply