Put Another Nickel In

Discussions on Talking Machines & Accessories
Post Reply
User avatar
phonogfp
Victor Monarch Special
Posts: 8342
Joined: Wed Jan 07, 2009 5:08 pm
Personal Text: "If you look for the bad in people expecting to find it, you surely will." - A. Lincoln
Location: New York's Finger Lakes

Put Another Nickel In

Post by phonogfp »

“On This Day in the History of Recorded Sound…”

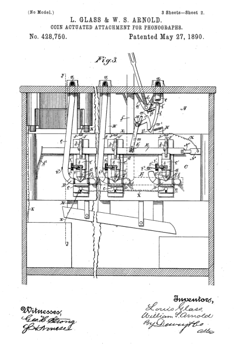
December 18, 1889: Louis Glass and William Arnold filed for a U.S. patent for “Coin Actuated Attachment for Phonographs.” This would become the first coin-operated talking machine introduced to the public.

https://www.antiquephono.org/#/
Glass, Louis patent1.png
Glass Louis patent2.png

JerryVan
Victor Monarch Special
Posts: 6916
Joined: Mon Aug 24, 2009 3:08 pm
Location: Southeast MI

Re: Put Another Nickel In

Post by JerryVan »

A really interesting mechanism. It appears that each of the 3 listening tubes has its own coin slot. If only 2 customers pay to listen, the third, (unpaid), listening tube would then be silenced by means of its tubing pinched shut.

User avatar
phonogfp
Victor Monarch Special
Posts: 8342
Joined: Wed Jan 07, 2009 5:08 pm
Personal Text: "If you look for the bad in people expecting to find it, you surely will." - A. Lincoln
Location: New York's Finger Lakes

Re: Put Another Nickel In

Post by phonogfp »

You have correctly sussed out the mechanism, Jerry. Certainly an odd design, but it was the first. I don't believe any of these Glass/Arnold machines survive.

George P.

User avatar
shopdoc
Victor I
Posts: 128
Joined: Wed Nov 18, 2020 3:06 pm
Personal Text: Edison Specialist
Location: Verona, NJ

Re: Put Another Nickel In

Post by shopdoc »

Dad loved nickelodeons as well as Edisons, so the first thing I thought of when I read the title was that this was a nickelodeon post. Put another nickel in, In the nickelodeon, All I want is Loving you and Music, music, music.

Post Reply